Product Summary
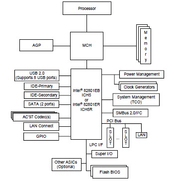
The NH82801GB-SL8FX is designed as one member of the intel I/O controller hub 7 (ICH7) family. It is ICH7 mobile (ICH7-M). The NH82801GB-SL8FX incorporates a variety of PCI functions that are divided into six logical devices.
Parametrics
NH82801GB-SL8FX absolute maximum ratings: (1)Vcross(abs) Absolute Crossing Point: 0.250 to 0.550; (2)V+ Low to high input threshold: 1.5 to 2.0 V; (3)V– High to low input threshold: 1.0 to 1.5 V; (4)VHYS Difference between input thresholds: (V+current value) – (V– current value): 320 mV; (5)VTHRAVG Average of thresholds: ((V+current value) + (V– current value))/2: 1.3 to 1.7 V; (6)VRING AC Voltage at recipient connector: –1 to 6 V; (7)VDI Differential Input Sensitivity: 0.2 V.
Features
NH82801GB-SL8FX features: (1)PCI Bus Interface: New: Supports PCI Revision 2.3 Specification at 33 MHz; 6 available PCI REQ/GNT pairs; One PCI REQ/GNT pair can be given higher arbitration priority (intended for external 1394 host controller); Support for 44-bit addressing on PCI using DAC protocol; (2)Integrated LAN Controller: New: Integrated ASF Management Controller; WfM 2.0 and IEEE 802.3 Compliant; LAN Connect Interface (LCI); 10/100 Mbit/sec Ethernet Support.
Diagrams

![]() |
![]() NH82443BXESL85Y |
![]() Intel |
![]() IC 82443BX SYS CTRLR 492-PBGA |
![]() Data Sheet |
![]()
|
|
||||||
![]() |
![]() NH82546GB |
![]() Intel |
![]() IC CTRLR ETHRNT 2-PORT 364BGA |
![]() Data Sheet |
![]()
|
|
||||||
![]() |
![]() NH82801DB SL8DE |
![]() Other |
![]() |
![]() Data Sheet |
![]() Negotiable |
|
||||||
![]() |
![]() NH82801DBM SL7VK |
![]() Other |
![]() |
![]() Data Sheet |
![]() Negotiable |
|
||||||
![]() |
![]() NH82801EB SL7YC |
![]() Other |
![]() |
![]() Data Sheet |
![]() Negotiable |
|
||||||
![]() |
![]() NH82801FB |
![]() Other |
![]() |
![]() Data Sheet |
![]() Negotiable |
|
||||||
(China (Mainland))








