Product Summary
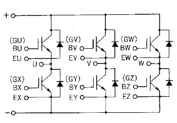
The 6MBI30FA-060 is an IGBT module. It is suitable for inverter for motor drive, AC and DC servo drive amplifier, uninterruptible power supply and industrial machines.
Parametrics
6MBI30FA-060 absolute maximum ratings: (1)collector-emitter voltage, VCES: 600V; (2)gate-emitter voltage, VGES: ±20V; (3)collector current, IC: 30A; IC pulse: 100A; -IC: 60A; (4)max power dissipation, PC: 120W; (5)operating temperature, Tj: 150℃; (6)storage temperature, Tstg: -40 to 125℃; (7)net weight: 235g; (8)isolation voltage, Viso: 2500V.
Features
6MBI30FA-060 features: (1)Variety of Power capacity series; (2)low saturation voltage; (3)voltage drive.
Diagrams

![]() |
![]() 6MBI 25S-120L |
![]() Other |
![]() |
![]() Data Sheet |
![]() Negotiable |
|
||||
![]() |
![]() 6MBI 35S-120L |
![]() Other |
![]() |
![]() Data Sheet |
![]() Negotiable |
|
||||
![]() |
![]() 6MBI 50S-120L |
![]() Other |
![]() |
![]() Data Sheet |
![]() Negotiable |
|
||||
![]() |
![]() 6MBI100F-060 |
![]() Other |
![]() |
![]() Data Sheet |
![]() Negotiable |
|
||||
![]() |
![]() 6MBI100FA-060 |
![]() Other |
![]() |
![]() Data Sheet |
![]() Negotiable |
|
||||
![]() |
![]() 6MBI100FB-060 |
![]() Other |
![]() |
![]() Data Sheet |
![]() Negotiable |
|
||||
(China (Mainland))








