Product Summary
The 6DI120A-060 is a power transistor module. The applications of it are AC motor controls, air conditioners.
Parametrics
6DI120A-060 absolute maximum ratings: (1)VCBO:600V; (2)VCEO:600V; (3)VCEO(SUS):450V; (4)VEBO:6V; (5)IC:100A; (6)ICP:200A; (7)-IC:100A; (8)IB:6A; (9)IBP:12A; (10)PC:400W; (11)Tj:+150℃; (12)Tstg:-40℃ to +125℃; (13)m:450g; (14)Viso:2500V.
Features
6DI120A-060 features: (1)high DC current gain; (2)insulated type; (3)including free wheeling diode.
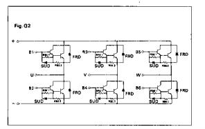
Diagrams

![]() |
![]() 6DI100A-050 |
![]() Other |
![]() |
![]() Data Sheet |
![]() Negotiable |
|
||||
(China (Mainland))








